Монтаж воздуховодов притока воздуха и удаления продуктов сгоранияГлавная / Котлы / Высокопроизводительный настенный газовый котел Westen Pulsar / Монтаж воздуховодов притока воздуха и удаления продуктов сгорания
Модель 240 Fi - 1.240 Fi
Монтаж котла может быть выполнен очень легко и гибко благодаря входящим в комплект поставки аксессуарам, описание которых приводится ниже.
Конструкция котла предусматривает его подключение к коаксиальному воздуховоду притока воздуха - удаления продуктов сгорания, вертикального или горизонтального типа.
При установке разделительного комплекта можно использовать также раздельные воздуховоды.
При монтаже следует использовать исключительно аксессуары, поставленные изготовителем!


… коаксиальный (концентрический) воздуховод притока воздуха горения - удаления продуктов сгорания
Такая конструкция воздуховодов удалять продукты сгорания и всасывать воздух для горения непосредственно снаружи здания или через дымоходы типа LAS.
Коаксиальное колено 90°позволяет соединять котел с воздуховодами притока воздуха и удаления продуктов сгорания, идущими в любом направлении, благодаря возможности поворота на 360°. Оно может использоваться также в качестве дополнительного колена с коаксиальным воздуховодом или коленом 45°.
(*) Установленную на котле диафрагму следует снимать только в случаях,
когда длина воздуховода
удаления продуктов сгорания превышает 1 метр + колено.
В случае удаления продуктов сгорания наружу воздуховод притока воздуха-удаления продуктов сгорания должен выступать из стены не менее, чем на 18 мм, чтобы позволить установку алюминиевой шайбы и ее уплотнения во избежание попадания воды внутрь.
Максимальный уклон в наружную сторону таких воздуховодов должен составлять 1 см на один погонный метр.
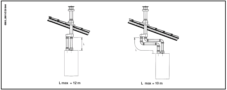
Каждое колено 90°уменьшает полную допустимую длину воздуховода на 1 метр.
Каждое колено 45°уменьшает полную допустимую длину воздуховода на 0,5 метра.

ПРИМЕРЫ УСТАНОВКИ С ГОРИЗОНТАЛЬНЫМ РАСПОЛОЖЕНИЕМ ВОЗДУХОВОДОВ
ПРИМЕРЫ УСТАНОВКИ С ДЫМОХОДАМИ ТИПА LAS
ПРИМЕРЫ УСТАНОВКИ С ВЕРТИКАЛЬНЫМ РАСПОЛОЖЕНИЕМ ВОЗДУХОВОДОВ
Установка может выполняться как на наклонной, так и на ровной крыше с использованием аксессуара - дымохода и черепичной плитки с втулкой, поставляемой по отдельному заказу.
Более подробные указания о способах монтажа аксессуаров см. в приложенной к ним технической документации.
… раздельные воздуховоды притока воздуха и удаления продуктов сгорания
Такая конструкция воздуховодов удалять продукты сгорания и всасывать воздух для горения непосредственно снаружи здания или через отдельные воздуховоды.
Всасывание воздуха для горения может выполняться в разных местах относительно точек удаления продуктов сгорания.
В разделительный комплект входят патрубок-переходник удаления продуктов сгорания (100/80) и патрубок всасывания.
Для крепления патрубка всасывания следует использовать прокладку и болты, ранее снятые с заглушки.
В случае установки с использованием такого типа воздуховодов установленную на котле диафрагму следует снять.
Колено 90°позволяет соединять котел с воздуховодами притока воздуха и удаления продуктов сгорания, идущими в любом направлении, благодаря возможности поворота на 360°. Оно может использоваться также в качестве дополнительного колена с коаксиальным воздуховодом или коленом 45°.


Каждое колено 90°уменьшает полную допустимую длину воздуховода на 0,5 метра.
Каждое колено 45°уменьшает полную допустимую длину воздуховода на 0,25 метра.
ПРИМЕРЫ УСТАНОВКИ С РАЗДЕЛЬНЫМИ ГОРИЗОНТАЛЬНЫМИ ВОЗДУХОВОДАМИ
Внимание: Максимальный уклон в наружную сторону воздуховодов удаления продуктов сгорания должен составлять 1 см на один погонный метр.
В случае установки комплекта для сбора конденсата воздуховод должен быть установлен с уклоном в сторону котла.
Примечание: для котлов модели C52 воздуховоды притока воздуха горения и удаления продукта сгорания не должны выводиться через противоположные друг другу стены здания.
Максимальная длина воздуховода всасывания должна составлять 10 метров. В случае если длина воздуховода удаления продуктов сгорания превышает 6 метров, необходимо установить вблизи котла комплект для сбора конденсата, поставляемый в качестве дополнительного аксессуара.
ПРИМЕРЫ УСТАНОВКИ С РАЗДЕЛЬНЫМИ ВЕРТИКАЛЬНЫМИ ВОЗДУХОВОДАМИ
Внимание: отдельный воздуховод для удаления продуктов сгорания следует должным образом изолировать в тех местах, где он касается стен здания (например, с помощью прокладки из стекловаты).
Более подробные указания о способах монтажа аксессуаров см. в приложенной к ним технической документации.
Регулировка подачи воздуха горения для раздельных воздуховодов
Данная регулировка необходима для оптимизации производительности и параметров горения.
При повороте регулятора производится регулировка подачи воздуха горения в соответствии с общей длиной воздуховодов притока воздуха горения и удаления продуктов сгорания.
Поворачивайте этот регулятор для увеличения или уменьшения подачи воздуха
горения в зависимости от типа установки (рисунок
9):
• С всасыванием с левой стороныю
Поворачивайте по часовой стрелке для увеличения подачи воздуха горения и против
часовой стрелки для ее
уменьшения;
• С всасыванием с правой стороныю
Поворачивайте по часовой стрелке для увеличения подачи воздуха горения и против
часовой стрелки для ее
уменьшения;
Для обеспечения еще большей оптимизации процесса горения можно измерить с помощью анализатора продуктов сгорания содержание CO2 в продуктах сгорания при максимальной тепловой мощности котла и, постепенно вращая регулятор подачи воздуха горения, привести содержание CO2 в соответствие с величиной, приведенной в нижеследующей таблице, если измеренная величина окажется меньшей.
Указания о монтаже данного устройства см. в приложенной к нему технической документации.

Смотрите также
НЕМНОГО ТЕОРИИ
Тот, кому приходилось разводить костер или
растапливать печку, знает, что главное условие устойчивого горения — это тяга, то есть обеспечение постоянного притока воздуха (точнее — кислорода) к месту
...
Бойлер подготовки горячей воды
Общая схема компановки бойлера подготовки горячей воды
1. Монтажный дюбель.
2. Монтажная пластина.
3. Теплоизоляция.
4. Штуцер отбора воды контура ГВС из бойлера.
5. Внутренняя емкость бойлера. ...
Инструкции по монтажу и применению расширительных сосудов высокого давления
для стальных котлов
1) Подводящий трубопровод к расширительному сосуду высокого
давления должен быть как можно более коротким и с возможностью
расширения. Расширительный сосуд неоходимо установить так, чтобы
исключить ...